TABLE 5.1 Deflection and Stiffness Formulas for Straight Bars (Rods, Beams) of Uniform Section


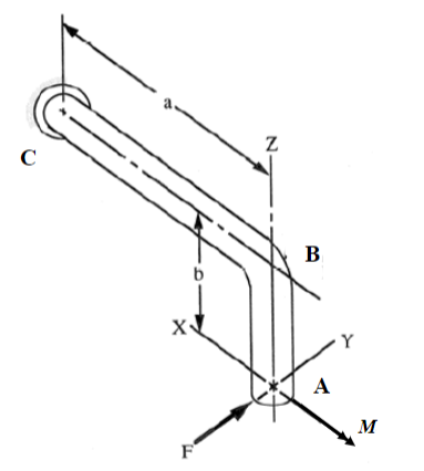
For the figure below, determine the deflection of point A on the angled rod in the Y direction due the applied load F and moment M. For deflection equations use table 5.1 in the text (both editions), Appendix D also has an extended deflection table. Assume that the rod has a solid circular cross-sectional area and that the mass of the rod is negligible.


Number Case Deflection Spring Rate PL 8 = AE AE k = - = L. P 1. Tension or compression P Cross-section area = A TL K'G Torsion K = - = K'G L. For solid round bar and deflection in degrees, 584TL K" = section property. For solid round section, K' = J = nd"/32. 0° = d*G ML M EI Bending (angular deflection) K EI I= moment of inertia about neutral bending axis 2. 3. ML? 8 = M k = 2EI 4. Bending (linear deflection) 2EI L? I= moment of inertia about neutral bending axis PL3 8 = 3EI P 3EI 5. Cantilever beam loaded at end L3 L I = moment of inertia about neutral bending axis F = 900 N, M = 300 Nm, E E = 200 GPa, v = 0.3, G = 2(1+ v) Rod diameter: D = 30 mm a = 800 mm, b = 300 mm, B X Y А M F
> Vasudevan Inc. recently reported operating income of $3.00 million, depreciation of $1.20 million, and had a tax rate of 40%. The firm's expenditures on fixed assets and net operating working capital totaled $0.60 million. How much was its free cash flow
> Vasudevan Inc. recently reported operating income of $4.80 million, depreciation of $1.20 million, and had a tax rate of 40%. The firm's expenditures on fixed assets and net operating working capital totaled $0.6 million. How much was its free cash flow,
> Vasudevan Inc. recently reported operating income of $5.35 million, depreciation of $1.20 million, and had a tax rate of 40%. The firm's expenditures on fixed assets and net operating working capital totaled $0.6 million. How much was its free cash flow,
> Vasudevan Inc. recently reported operating income of $2.3 million, depreciation of $1.20 million and had a tax rate of 25%. The firm’s expenditures on fixed assets and net operating working capital totaled $0.60 million How much was its free cash flow, i
> Why the group may have a centralized risk team? The main activities that the group’s senior management and Board might expect this team to undertake. Alternative ways in which the group might structure its risk management activities that do not involve a
> If a management team wishes to undertake efforts specifically aimed at helping the company meet or beat the investor-expected increases in the company's stock price in upcoming years, then it should pursue actions to increase the company's current ratio
> Please use the following link for the data http://ww2.capsim.com/cgi-bin/CpCGIReports2011.exe?studentKey=1256929&simid=C59559&round=4&Report=CapCourier|AnnReport Investing $2,000,000 in TQM's Channel Support Systems initiative will at a minimum increas
> Identify the components of mission statement & evaluate mission statement of different organization and write effective vision and mission statements.
> If a management team wishes to undertake efforts specifically aimed at helping the company meet or beat the investor-expected increases in the company's stock price in upcoming years, then it should pursue actions to a. outspend rivals on corporate socia
> The Purple lion Beverage Company expects the following cash from its manufacturing plant in Palau over the next four years: Annual Cash Flows Year 1 Year 2 Year 3 Year 4 $100,000 $20,000 $330,000 $450,000 The CFO of the company believes that an appro
> Vasudevan Inc. recently reported operating income of $2.8 million, depreciation of $1.2 million, and had a tax rate of 40%. The firm’s expenditures on fixed assets in net working capital totaled $0.7 million how much was it free cash flow in millions?
> The Purple Lion Beverage Company expects the following cash flows from its manufacturing plant in Palau over the next four years: The CFO of the company believes that an appropriate annual interest rate on this investment is 6.5%. What is the present va
> Given the following three bus system. The power flow equations are given to you by: GI j0.5 Vi - 10 V2 , 1.0+j0.2 V3 1.0+j0.5 S, = j19.98|V| - j10v,V;' – ¡10V¡V;* Sz=-j1ov,v;*+jl19.98|V2P – 10V;V;" S3 =-j1oV,V,* - j10V;V;"+j19.98|V3f 1) Do one step
> A Young double sit experiment is performed inside an empty tank (filled with air) with a monochromatic point source as shown in the diagram below. A total of N bright fringes are observed on a screen, within a total vertical range of length d. plane
> A Young double slit experiment is performed inside an empty tank (filled with air) with a monochromatic point source as shown in the diagram below. A total of N bright fringes are observed on a screen, within a total vertical range of length d. For eac
> I need you to substitute Gs in the transfer function and tell me if there is any way we can get rid of the K. Determine the closed loop transfer function for the system shown in figure 1 and write it in the standard form. R(s)- Σ) G(s) Y (s) K Figur
> For a unity negative feedback system, C(s) R(s) + E(s) Where, Find the percent of overshoot %OS and the settling time T, of the closed-loop system. If we want to design a controller for this system, such that its %OS is no more than 20 and the settling
> Unity negative feedback system with variable gain K. 1. Determine the closed loop transfer function for the system shown in Figure 1 and write it in the standard form R(s) – (Σ) E G(s) - Y (s) K Figure 1. Unity negative feedback system with variable
> Does my block diagram simplification look correct? Simplify the unity loop around G1(s). Remove internal feedback loops. Combine blocks. Remove the unity negative feedback loops. H1(s) G2(s) C(s) G1(s) R(s) H1(s) R(s) G1(s) G1(s) G2(s) C(s) G1(s
> Unity negative feedback interconnection. (3pts) With K = 1, determine the steady state error 6 due to a step input for the interconnection shown. Also, determine the steady state error due to a ramp input. Determine the type of the system. (4pts) Desig
> Given the following three bus system The power flow equations are given to you by: + jo.5 GI V2 Vi = 1/0 1.0+j0.2 V3 1.0+j0.5 Si =j19.98|V|P - j10ov,V2' – j10V¡V3 S2=- j10V2V*+jl9.98|V2² – ¡10V2V3
> For a unity negative feedback system 9. For an unity negative feedback system, R(s) + E(s) C(s) G(s) s ai (MO) where K(s - 1)(s - 2) (s+1)(s+3) G(s) = K >0 %3D if the system is stable, the range of K is A. K > 1; B.0 <K < 4/3; C. K > 4/3; D. None
> How could an organization use social media to promote ethical behavior, culture, and communicate the organization's values? What are the advantages and dangers of social media in this pursuit? How would you handle the situation if you were in charge of t
> Given that price elasticity of demand is a real factor that impacts revenue collection as well as behavior modification through social engineering, how 'should' government react?
> On Product Development and the Total Product Offer and on Developing a Total Product Offer write about what is important to you as a consumer when it comes to each purchasing 2 of these 5 different products. Remember the total product offer for the consu
> Find the Internal rate of return. New Heritage Private Label Total Production Division Data: New Heritage Private Label Total Production Division Data: Revenue ($ millions) Operating Income ($ millions) Dolls Accessories Dolls Accessories 80 14 26 $
> How do Marx and Engels think that capitalism has changed the world? Do they think that capitalism has changed the world for the better or the worse?
> How did Karl Marx and Friedrich Engels explain the path to communism in The Communist Manifesto?
> According to Friedrich Engels, what is the cause of the subordination of women?
> What were the ten measures proposed on “The Communist Manifesto” by Karl Marx and Friedrich Engels?
> A. Identify 3 of the challenges George III and England faced in fighting the Revolutionary War, according to the article, “England's Vietnam: The American Revolution"? B. Why did the English finally give up the war, according to the article mentioned ab
> Consider the local telephone company, a natural monopoly. The following graph shows the monthly demand curve for phone services, the company's marginal revenue (MR), marginal cost (MC), and average total cost (ATC) curves. 100 90 80 70 60 50 40 30 A
> Consider the local telephone company, a natural monopoly. The following graph shows the monthly demand for phone services and the curve company's marginal revenue (MR), marginal cost (MC), and average total cost (ATC) curves. 100 90 80 70 60 50 40
> An effective mission statement written with a customer orientation means that The mission statement should reflect the anticipations customers. The mission statement should identify opportunities and threats The mission statement should develop a prod
> Write separate mission statements that you believe would describe Microsoft, IBM, and AT&T. Compare your mission statements with the real mission statements of these companies. Their mission statements can typically be found in their annual reports. Were
> Disney Movies' target market, who are they? (Be specific in age, gender, income, location, hobbies, interests, education level). Why did Disney choose them as its target market?
> The RX Drug Company has just purchased a capsulating machine for $76,000. The plant engineer estimates the useful life a t5 years and zero salvage value. Compute the depreciation schedule using a. Straight-line depreciation b. Double declining balance
> The RX Drug Company has just purchased a capsulating machine for $76,000. The plant engineer estimates the useful life a t5 years and zero salvage value. Compute the depreciation schedule using straight-line and MARCS depreciation.
> As CEO of firm A, you and your management team face the decision of whether to undertake a $200 million R&D effort to create a new mega-medicine. Your research scientists estimate that there is a (,0 percent chance of successfully creating the drug. Succ
> Who developed the idea of laissez- faire capitalism? John Locke Adam Smith Baron de Montesquieu Friedrich Engels François Noël Babeuf
> What about the Earth can you learn in Physical Geology?
> Determining Sequence of Events in Geologic Cross Sections A. Review the legend of symbols at the bottom of the page. On the line provided for each cross section, write letters to indicate the sequence of events from oldest (first in the sequence of event
> 28. Is the basic process responsible for advance of valley glaciers the same as for advance of continental glaciers? 29. Briefly explain how continental glaciers can flow uphill.
> 32. Explain the origin of varves and their significance in the chronologies of glacial land deposits. 33. What were two of the geological consequences of the 130 m drop in sea level which occurred during me maximum glacial coverage of the Great Ice Age?
> 30. How can the boundary between the zones of accumulation and wastage on a glacier be located during spring and summer? 31. What is a stagnant glacier? Why does a glacier become stagnant?
> During recession, docs ice flow towards the terminus or back towards the zone of accumulation? Explain.
> In what direction should the rock units be dipping in the example below. A. Away from the center of the structure B. Cannot say C. Toward the center or the structure D. Randomly with respect to the structure DOME Oldest strata Youngest strata
> Determine the midspan deflection of beam AC relative to the supports D and E in terms of the flexural rigidity EI, P and L. B D F E - L- -
> How to find the stiffness and deflection formula of a beam, frame or column, in relation to structural dynamic., like the deriving deflection formula for an indeterminate structure.
> What is the difference between young's modulus and stiffness in measurement and formulas?
> A 60 gallon compressor with a psi of 155 is connected to an empty air tank with a volume of 5 gallons. What is the maximum psi that the air tank can be filled to? If Boyles Law is P,V=P;V¢ 60*155-5x>x=1860 psi.OR 60*155=(60+5)*155→x=143 PS| 60 Gallon
> The block brake consists of a pin-connected lever and friction block at B. The coefficient of static friction between the wheel and the lever is μs = 0.30. A torque (moment) of 5 N.m is applied to the wheel. Determine if the brake can hold
> Using an allowable stress of 155 Mpa. Determine: the largest bending moment M that can be applied to the wide flange beam shown. Neglect the effect of fillets. 200 mm 12 mm 220 mm M 8 mm 12 mm
> For the beam and loading shown, design the cross-section of the beam, knowing that the grade of timber used has an allowable normal stress of 9 MPa. 25 kN 2.5 kN 4 kN/m 140 mm 3 m 08 m 0.8 m mm %3D
> For the beam and loading shown determine a. the moment and shear force diagrams. b. the maximum normal stress and shearing stress. q=10kN/m P=20kN D 200mm 301 A B 2m 200 yc 3m t. 30
> For the beam and loading shown, a. determine the resultant force due to the distributed load by the integration method For the beam and loading shown, b. determine the reactions at the | and supports of the beam. Use the Composite Area Approach.
> Draw the shearing-force and bending-moment diagrams for the beam and loading shown. M,- gr
> For the beam and loading shown, determine the deflection at point A. В A · L/2 L/2 -
> An air conditioning system is installed on the roof of a two story building. The fan causes a harmonic lateral force due to rotating unbalance in the fan. It is required to study the vibrations of the building under the lateral force. The masses of the f
> let mu= 0.9, Fz = 4500, As = 0, Cx = 80000, Cy=47275. Simulate the Dugoff’s tire model for both pure longitudinal and pure lateral force cases. Plot the tire longitudinal force vs. slip and lateral force vs. slip angle
> Simulate the Dugoff’s tire model for both pure longitudinal and pure lateral force cases. Plot the tire longitudinal force vs. slip and lateral force vs. slip angle
> TABLE 13.6 Lateral force vs. slip angle Slip Angle The lateral force vs. slip angle values for a tire are given in Table 13.6. Expressing the lateral force as a function of the slip angle as FL = c1α +c2α2, estimate the coef
> A. Draw the shear diagram for the cantilevered beam. B. Draw the moment diagram for the cantilevered beam. 100 lb 800 lb-ft A B 5 ft- -5 ft V,lb 200- T 100+ x,ft 5 10 -100- -200 100 lb 800 lb-ft C BI -5 ft -5 ft M,lb-ft 2,400T 1,800 1,200- 600- x,ft
> The following engineering stress-strain curve was obtained for an Aluminum 6061-T6 alloy. Using the curve, determine the following. Please do your best to approximate the values from the curve and pay attention to the units. Modulus of Elasticity in ksi
> Locate the Centroid of the plane areas shown, by inspection. 5 in 1. hin - kin
> 1. a. Derive the relationship between true strain and engineering strain [Hint: start with expression for engineering strain] b. Derive a relationship between true stress and engineering strain Problem 2. The engineering yield strength of a copper all
> Using the data for STEEL ONLY, determine the following parameters a. Modulus of elasticity; b. Engineering Yield strength; c. Engineering Yield strain; d. Engineering Tensile strength; e. Engineering Tensile strain; f. Engineering stress at fracture
> The diffusion coefficients for carbon in nickel are 5.5 x 10-14 m2 /s at 600°C and 3.9 x 10-13 m2 /s at 700°C, respectively. Calculate the magnitude of diffusion coefficient at 850°C.
> a. Plot the data as shown in the following table as engineering stress (MPa) versus engineering strain (mm/mm) and determine the 0.2 percent offset yield stress of the steel. b. Determine the yield strength at a strain offset of 0.002. c. Determine the
> How to find engineering stress, engineering strain, modulus of elasticity, and elongation to fracture using the information provided. Initial length, lo= Initial width, wo= Initial thickness, to= 25.00 mm 6.26 mm 1.45 mm Specimen 1 Displacement (mm)
> Define a homogeneous material. Define the modulus of elasticity. Engineering stress and strain are calculated using the actual cross-sectional area and length of the specimen. True or false? As the temperature increases the modulus of elasticity will inc
> The state of stress at a point in a loaded solid is given as a. Calculate the principal menu. b. Plot the Mohr’s circles for this point and calculate the maximum shear stress c. Determine the principal direction. 5 0 00 0MPA 2 0
> Air flows into the jet engine shown in the figure below at a rate of 9 slugs/s and a speed of 371 ft/s. Upon landing, the engine exhaust exits through the reverse thrust mechanism with a speed of 846 ft/s in the direction indicated. Determine the reverse
> Which of the following statements is always true? 1. Entropy change in adiabatic process is 0. 2. Entropy change in any process is always positive. 3. If a process is reversible, change in entropy of system is 0. 4. None listed.
> Determine the reactions at the supports. 400 N/m В 4 A -3 m -3 m Prob. 5-11 3.
> A pin is pushed along a slotted track defined by the function r = 3 sin θ, where r is in units of meters and theta is radians measured positive in the counter-clockwise direction. The pin pushed by an arm AB. When the arm AB is at Ï
> Consider the cross-section show in the figure y w" B (w,h) h y =-x h" ソ=h %3D A (0,0) w=9 in h= 13 in Calculate , the moment of inertia about the x-axis in^4 ENTER 3 tries remaining. 1 pointisi possible Calculate l, the moment of inertia about the
> The link AC rotates with a constant angular speed of 6 rad/s such that the position of the slide B is described by r = 200(2 - cos α) mm. When a = 150, determine: 1.The radial and transverse components of the slider's velocity. 2. The rad
> The car travels around the circular track with a constant speed of 21 m/s wit r=400(costheta)m. Determine the car's radial and transverse component of velocity at the instant θ=π/4rad. Determine the car's radial and transverse component of acceleration a
> The roller coaster car has a mass of 700 kg, including its passenger. If it is released from rest at the top of the hill A. determine the minimum height h of the hill crest so that the car travels around both inside the loops without leaving the track.
> The motion of the slider B can be described by the variables r = a + bt2 and θ = c+ sint, where a, b, and c are constants and t is time. Determine at time t: i. Radial and transverse components of the inertial velocity of B. ii. Radial and transverse co
> In MATLAB, write your own function of rotating two horizontal components into Radial and Transverse components. Please provide the code.
> A. Explain Frenkel and Schottky defects in Ceramics. B. The modulus of elasticity for spinel (MgAl2O4) having 7 vol% porosity is 250 GPa. Compute the modulus of elasticity for the nonporous material and the modulus of elasticity for 18 vol% porosity.
> The diffusion coefficients for carbon in nickel are given at two temperatures as shown in the table below. Determine the value of Qd? T( C) D (m2/s) 600 5.5 x 10 14 700 3.9 x 10 13
> The diffusion coefficients for carbon in nickel are 5.5 x 10-14 m2/s at 600.
> Following stake holder actively participants in the design process for Design for Manufacturing? A. Banks B. Outside suppliers C. Maintenance D. All of the above Design for manufacturing is a comprehensive approach to production of goods and integrat
> The solid circular shaft has a radius of 90 mm and Modulus of Rigidity G = 75 GPa. Determine: the maximum shear stress in the shaft and the angle of twist of A relative to C. 2 m 3 m A 40 kN-m 60 kN-m
> Accidents with trucks carrying hazardous wastes are fairly common. Suppose regulators enact a rule requiring that the perpetrators of such an accident be liable for a sum equal to the average damages of all such accidents in the industry. Would this lead
> For what types of pollution problems is voluntary action likely to be the most effective policy approach?
> Suppose a community weighed each resident’s solid-waste disposal when it was picked up and published the individual totals each year in the local newspaper. Do you think this would lead to a reduction in the total quantity of solid waste disposed of in t
> Suppose courts changed rules regarding burden of proof, requiring polluters to show that their emissions are harmless, rather than pollutees to show that they have been harmed. What impact might this have?
> It would seem that neighbors could easily negotiate among themselves to settle problems of local externalities such as noise and unsightly land uses. Yet most communities control these problems with local laws and regulations. Why?
> When setting public policy on environmental risks, should we base it on the levels of risk to which people think they are exposed or on the risk levels as scientists have determined them to be in fact?
> Suppose the costs of an environmental pollution-control program are expected to be equal to $80 per year, and that benefits will be $50 per year for 50 years, then $150 per year thereafter. At a discount rate of 4 percent, what are the net benefits of th
> Following are some illustrative numbers for benefits and costs arising from a program to restrict emissions of a pollutant. Current emissions are 10 tons per month. Identify the emission level at which net benefits would be maximized. Show that this is n
> Suppose we are comparing two ways of protecting ourselves against mobile source air pollution: putting additional controls on the internal combustion engine or developing an entirely different type of engine that is cleaner. How would changes in the disc
> Air-pollution-control authorities in southern California propose to control mobile-source emissions by requiring that a certain percentage of all new cars sold in the region be electric. Contrast the different perspectives that would be involved in analy
> What is the difference between a residual and a pollutant? Illustrate this in the context of a common airborne emission such as sulfur dioxide (SO2); with noise; with junked automobiles; with an unsightly building.
> Emission charges are sometimes seen as creating a “double burden”: Firms must pay the costs of reducing emissions and also pay the government for polluting discharges. How might a charge system be designed to reduce this double burden?
> We talked about “side payments” given to countries to lower the costs to them of joining international environmental agreements. What types of side payments might be effective?